中国科学院地质与地球物理研究所工程师薛旭等人以梳齿型MEMS加速度计为典型实施例,发明了一种适合MEMS尤其是MEMS惯性传感器的集成封装方法。
目前,电子元器件芯片朝着越来越复杂的方向发展,而传统的IC集成器件封装和金属管壳封装都会带来困难。例如MEMS传感器,为了提高其性能,往往需要增加可动质量块的厚度,使用传统的IC集成器件封装技术和国内外标准的LCC(无引脚芯片载体)封装管壳的腔体深度往往不能满足MEMS厚度的要求,极大地造成了封装及微组装工序的复杂度,而且芯片的整体面积很大,增加了成本,不利于进行批量生产。
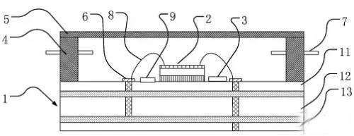
中国科学院地质与地球物理研究所工程师薛旭等人以梳齿型MEMS加速度计为典型实施例,发明了一种适合MEMS尤其是MEMS惯性传感器的集成封装方法,并于近日获得国家发明专利授权(专利名称:一种MEMS传感器封装结构及其封装方法;发明人:薛旭,郭士超;专利号:ZL 2014 1 0183524.9)。他们针对现有技术的不足,提供了一种根据需要可方便拓展为多层级结构的基座,并可将导线分层布设于基座中,可解决走线困难的问题。此外,他们还提供了一种低封装应力和气密性较好的封装结构,采取低温平行缝焊的低温度封装技术。MEMS与基座的粘接工艺与材料匹配以及温度传感器和MCU处理器有效布置,从材料应力、算法补偿、实时温度校准等多方面解决了MEMS惯性传感器尤其是MEMS加速度传感器的温度系数大、温度滞回大等难题,提高了生产效率,降低了成本。
该发明从偏置稳定性、温度特性以及工程化等几个方面解决了一系列MEMS难题,相关技术已经在课题组的样机和产品上进行了小批量试制,取得了较好的效果,初步达到了工程化及量产能力,具有一定的推广应用前景。

京公网安备 11011202001138号
