如何确保某些过程帮助创造价值并满足客户的需求?哪些活动是不创造价值的,价值流图可以告诉我们答案。
总体来看,精益生产和持续改进过程(CIP)的目标都是缩短生产周期,持续改进过程尤其如此。缩短生产周期会对生产率产生积极的影响,因为生产周期与生产率密切相关。
但是,总有一些“反对力量”会阻碍这一目标的实现。这就是精益生产中的 3M——它们都以字母M 开头,分别是 Muda(浪费)、Mura(不平衡)和Muri(超负荷)。
以 3M 中最为人所知且影响最大的 Muda 为例,我们很容易发现阻碍我们缩短生产周期的各种活动。在精益生产中,人们通常用 Muda(浪费)来指代那些不创造价值的活动。精益生产重点关注七种形式的浪费(七种 Muda)——包括生产过剩和过度移动物料。
但是在具体生产操作时,我们怎样才能发现某个过程中的某些活动是不创造价值的呢?在精益生产和精益管理中,这正是价值流图大显身手的地方。特别是在使用精益六西格玛方法时,这种方法非常实用。
价值流图
VSM 的定义
那么,究竟什么是价值流图?让我们先了解一下价值流。价值流包括制造和供应产品所需的所有过程。价值流图提供了一种分析价值流的方法,让我们可以清晰地看到业务流程的当前状态。这样我们就能对各个过程步骤进行观察和计时,并借助观察结果在流程图(见下图)中可视化物料流和信息流。总的来说,价值流图具有以下特征和优势:
● 描述、绘制和创建物料流和信息流
● 通过标准化和结构化的方法缩短生产周期
● 为对话(而不是讨论)提供基础,使团队工作更容易
● 为优化过程和避免/减少浪费奠定基础
价值流图完成后,下一步就是价值流设计,包括制定过程的目标状态,并规划相关的改进措施。
价值流图
如何实施?
实施价值流图的第一步是形成产品组。产品组是经过类似过程步骤的产品的集合。因此,产品和相关生产步骤以矩阵形式列出(见图)。参观制造工厂,并记录每个产品以及每个产品的每种型号所要经过的所有生产步骤。具有相同或相似制造步骤的产品被归入同一个产品组。
如果无法将多个产品归入同一个产品组,您只能创建许多产品组,每个产品组中只包含一种产品,然后针对每种产品实施价值流图。
然后,我们要针对每个产品组单独实施价值流图。如果无法将多个产品归入同一个产品组,您只能创建许多产品组,每个产品组中只包含一种产品,然后针对每种产品实施价值流图。这样做的缺点是获得的结果没有太大意义且透明度较低。下图是根据三种不同的产品形成的产品组。

*这里展示的是作为价值流图一部分创建的产品矩阵。矩阵中记录了三种不同的产品。根据它们的过程匹配度,产品 A 和产品 C 可以归入同一个产品组。而产品 B 则要单独实施价值流。
计算客户节拍时间并可视化价值流图(示例)
产品组形成后,下一步是以流程图或价值流图的形式可视化当前状态。这需要准确了解客户的需求,并精确计算客户节拍时间。客户节拍时间是指客户再接收一件产品之前的平均(生产)时间。
然后,在价值流设计阶段,您可通过客户节拍时间使生产速度与销售速度保持同步。这样就能确保生产与客户需求一致了。
价值流图完成后会清晰地显示价值流中有待改进的地方——可能与生产周期有关,也可能与库存水平有关。
在实际的价值流图中,基本信息、物料流和信息流都用特殊的符号表示。您可以在 item 在线培训平台提供的免费课程中详细了解这些符号的含义——包括测试您相关知识的掌握情况,并提供清晰的 PDF 文件供您下载或与他人分享。
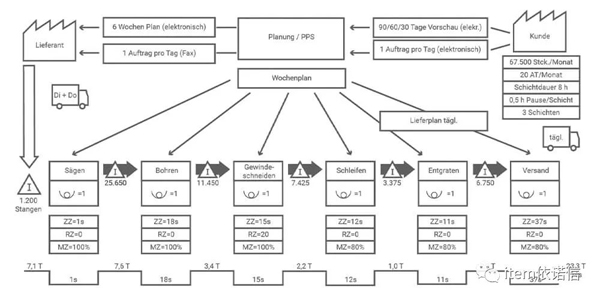
价值流图的基本结构是相同的。客户(右上角)始终是价值流图的起点。然后,价值流图通过生产向上游推进,再回到供应商,清晰地描绘出整个价值流。
价值流图完成后会清晰地显示价值流中有待改进的地方——可能与生产周期有关,也可能与库存水平有关。此外,您还可以通过价值流图来确定同步工作步骤的范围。下面是一个关于价值流图和价值流图结果的示例。

*上面的价值流图描绘了螺纹气缸的生产过程。物料移动用箭头表示。“客户”和“供应商”这两个词位于外部源符号内。
学习精益生产知识
这是一个好起点
不同的精益生产方法相辅相成,彼此间也存在重合。 为什么不以价值流图为契机,深入了解这个主题呢?item 多年来一直专注于精益生产,不但提供精益生产装配系统,还从一开始就不断改进自己的流程。我们非常乐意与我们的客户以及其他对此有兴有兴趣的同行分享这些专业知识。
(来源:item)




京公网安备 11011202001138号
